Мы используем cookie для наилучшего представления нашего сайта. Подробнее об этом в Политике конфиденциальности.
Ок

Курган

Ваш город:
Курган (Курганская область)?
Нет
Да
Каталог
Каталог Написать в WhatsApp
Мотоэкипировка

Блок цилиндров 4-Х ТАКТНОГО ПЛМ MERCURY 8 Серийный номер от 0P325500 и выше

Блок цилиндров 4-Х ТАКТНОГО ПЛМ MERCURY 8 Серийный номер от 0P325500 и выше в Тюмени: актуальный каталог, цены, фото, описание. Купите блок цилиндров 4-х тактного плм mercury 8 серийный номер от 0p325500 и выше в кредит – оформите заявку онлайн за 1 минуту!

Оригинальные запчасти

Артикул НАИМЕНОВАНИЕ Кол-во деталей в узле Примечание Наличие Цена Аналоги Фото
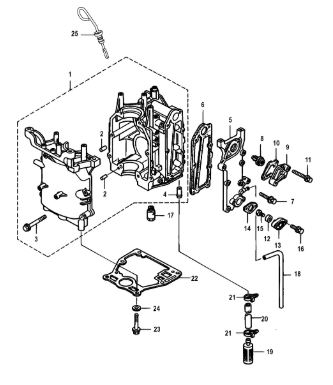
1 815013T06 CYLINDER BLOCK

Под заказ

1

Под заказ

уточнить

Купить
2 822644001 NIPPLE

Под заказ

1

Под заказ

уточнить

Купить
3 834953001 EXHAUST COVER

Под заказ

1

Под заказ

уточнить

Купить
4 834952001 Прокладка (GASKET, Exhaust Cover)

Под заказ

1

Под заказ

уточнить

Купить
5 823042 Болт (BOLT)

Под заказ

5

Под заказ

уточнить

Купить
6 8M0119207 Термостат (THERMOSTAT)

Под заказ

1

Под заказ

уточнить

Купить
7 8537052 Колпачок (CAP)

Под заказ

1

Под заказ

уточнить

Купить
8 853702005 Прокладка (+TH 346-01032-0D0)

Под заказ

1

Под заказ

уточнить

Купить
9 8M0102279 BOLT

Под заказ

2

Под заказ

уточнить

Купить
10 823912 Анод (ANODE)

Под заказ

1

Под заказ

уточнить

Купить
11 895151001 PLUG-ANODE

Под заказ

1

Под заказ

уточнить

Купить
12 895150001 Прокладка (GASKET)

Под заказ

1

Под заказ

уточнить

Купить
13 16832 Болт M6x16 (BOLT)

Под заказ

1

Под заказ

уточнить

Купить
14 167051 Болт (BOLT)

Под заказ

2

Под заказ

уточнить

Купить
15 898101142 PLUNGER

Под заказ

1

Под заказ

уточнить

Купить
16 851848003 HOSE, (330mm)

Под заказ

1

Под заказ

уточнить

Купить
17 895152002 Масляный фильтр (OIL STRAINER ASSEMBLY)

Под заказ

1

Под заказ

уточнить

Купить
18 8M0057115 HOSE

Под заказ

1

Под заказ

уточнить

Купить
19 835427003 Прокладка под дв. блоком F9.9 (GASKET)

Под заказ

1

Под заказ

уточнить

Купить
20 898103228 BOLT @3

Под заказ

6

Под заказ

уточнить

Купить
21 16192 Шайба (WASHER@10)

Под заказ

6

Под заказ

уточнить

Купить
22 803512001 DIPSTICK

Под заказ

1

Под заказ

уточнить

Купить
23 835427A04 GASKET SET, Powerhead

Под заказ

1

Под заказ

уточнить

Купить
24 8M0046065 POWERHEAD ASSEMBLY

Под заказ

1

Под заказ

уточнить

Купить

Нулевая цена не означает отсутствие товара. Оформите заказ, и менеджер сообщит вам цену и наличие товара, предварительно запросив их у поставщика

Главная Магазины
Корзина0
Профиль