Мы используем cookie для наилучшего представления нашего сайта. Подробнее об этом в Политике конфиденциальности.
Ок

Курган

Ваш город:
Курган (Курганская область)?
Нет
Да
Каталог
Каталог Написать в WhatsApp
Мотоэкипировка

Компоненты переключения передач,Bigfoot 4-Х ТАКТНОГО ПЛМ MERCURY 8 Серийный номер от 0P325500 и выше

Компоненты переключения передач,Bigfoot 4-Х ТАКТНОГО ПЛМ MERCURY 8 Серийный номер от 0P325500 и выше в Тюмени: актуальный каталог, цены, фото, описание. Купите компоненты переключения передач,bigfoot 4-х тактного плм mercury 8 серийный номер от 0p325500 и выше в кредит – оформите заявку онлайн за 1 минуту!

Оригинальные запчасти

Артикул НАИМЕНОВАНИЕ Кол-во деталей в узле Примечание Наличие Цена Аналоги Фото
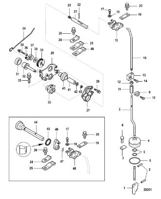
1 161722 *** Кулачок (SHIFT CAM)

Под заказ

1

Под заказ

уточнить

Купить
2 898103166 Кулачек передачи (CLUTCH CAM)

Под заказ

1

Под заказ

уточнить

Купить
3 16179 Шпонка (PIN)

Под заказ

2

Под заказ

уточнить

Купить
4 803760010 CAM ROD

Под заказ

1

Под заказ

уточнить

Купить
5 803760011 CAM ROD

Под заказ

1

Под заказ

уточнить

Купить
6 803761 Втулка (BUSHING)

Под заказ

1

Под заказ

уточнить

Купить
7 8537096 Упорное кольцо (O RING)

Под заказ

1

Под заказ

уточнить

Купить
8 803762 CLAMP

Под заказ

1

Под заказ

уточнить

Купить
9 82304228 SCREW

Под заказ

1

Под заказ

уточнить

Купить
10 810753004 STOPPER

Под заказ

1

Под заказ

уточнить

Купить
11 855544018 SCREW

Под заказ

1

Под заказ

уточнить

Купить
12 803767002 Муфта переключения передач (SHIFT SHAFT COUPLER)

Под заказ

1

Под заказ

уточнить

Купить
13 804906001 LOCK , Reverse

Под заказ

1

Под заказ

уточнить

Купить
14 879194329 SCREW

Под заказ

1

Под заказ

уточнить

Купить
15 803766003 Вал переключения передач (SHIFT SHAFT, Upper)

Под заказ

1

Под заказ

уточнить

Купить
16 802971001 SHIFT DETENT

Под заказ

1

Под заказ

уточнить

Купить
17 855544014 SCREW

Под заказ

1

Под заказ

уточнить

Купить
18 16335 Шайба (WASHER, STARTER LOCK SCREW)

Под заказ

1

Под заказ

уточнить

Купить
19 895157 BRACKET

Под заказ

1

Под заказ

уточнить

Купить
20 8230427 BOLT, (M6 x 12)

Под заказ

2

Под заказ

уточнить

Купить
21 892771 SHAFT

Под заказ

1

Под заказ

уточнить

Купить
22 16085003 PIN

Под заказ

1

Под заказ

уточнить

Купить
23 813028003 SPRING

Под заказ

1

Под заказ

уточнить

Купить
24 8518641 CLAMP

Под заказ

1

Под заказ

уточнить

Купить
25 803756003 Зажим фиксатор (CLAMP, Shift Detent)

Под заказ

1

Под заказ

уточнить

Купить
26 803756002 SHIFT DETENT

Под заказ

1

Под заказ

уточнить

Купить
27 803756004 Фиксатор (SHIFT DETENT)

Под заказ

1

Под заказ

уточнить

Купить
28 895159 GEAR PLATE

Под заказ

1

Под заказ

уточнить

Купить
29 823042 Болт (BOLT)

Под заказ

3

Под заказ

уточнить

Купить
30 895158 GEAR PLATE

Под заказ

1

Под заказ

уточнить

Купить
31 895161 Втулка-шестерня ведомая (DRIVEN GEAR)

Под заказ

1

Под заказ

уточнить

Купить
32 16219002 SEAL

Под заказ

1

Под заказ

уточнить

Купить
33 892772 KNOB

Под заказ

1

Под заказ

уточнить

Купить
34 803574002 THROTTLE ROD

Под заказ

1

Под заказ

уточнить

Купить
35 8M0102279 BOLT

Под заказ

1

Под заказ

уточнить

Купить
36 895126 COLLAR, (6mm)

Под заказ

1

Под заказ

уточнить

Купить
37 803572001 THROTTLE OPENER

Под заказ

1

Под заказ

уточнить

Купить
38 895101401 Направляющая (THROTTLE DRUM)

Под заказ

1

Под заказ

уточнить

Купить
39 895101400 Втулка-шестерня ведущая (DRIVE GEAR)

Под заказ

1

Под заказ

уточнить

Купить
40 895162001 COLLAR

Под заказ

1

Под заказ

уточнить

Купить
41 895106 *** Шайба (WASHER @2)

Под заказ

1

Под заказ

уточнить

Купить
42 851865003 SHAFT, Shift

Под заказ

1

Под заказ

уточнить

Купить
43 16219003 SEAL

Под заказ

1

Под заказ

уточнить

Купить
44 803763005 SHIFT LEVER

Под заказ

1

Под заказ

уточнить

Купить
45 898101904 LEVER, Shift

Под заказ

1

Под заказ

уточнить

Купить
46 851863 SNAP RETAINER

Под заказ

1

Под заказ

уточнить

Купить
47 802971002 SHIFT DETENT

Под заказ

1

Под заказ

уточнить

Купить
48 8M0082884 Прокладка (GASKET SET)

Под заказ

1

Под заказ

уточнить

Купить

Нулевая цена не означает отсутствие товара. Оформите заказ, и менеджер сообщит вам цену и наличие товара, предварительно запросив их у поставщика

Главная Магазины
Корзина0
Профиль