Мы используем cookie для наилучшего представления нашего сайта. Подробнее об этом в Политике конфиденциальности.
Ок

Курган

Ваш город:
Курган (Курганская область)?
Нет
Да
Каталог
Каталог Написать в WhatsApp
Мотоэкипировка

Рукоятка румпеля 4-Х ТАКТНОГО ПЛМ MERCURY 8 Серийный номер от 0P325500 и выше

Рукоятка румпеля 4-Х ТАКТНОГО ПЛМ MERCURY 8 Серийный номер от 0P325500 и выше в Тюмени: актуальный каталог, цены, фото, описание. Купите рукоятка румпеля 4-х тактного плм mercury 8 серийный номер от 0p325500 и выше в кредит – оформите заявку онлайн за 1 минуту!

Оригинальные запчасти

Артикул НАИМЕНОВАНИЕ Кол-во деталей в узле Примечание Наличие Цена Аналоги Фото
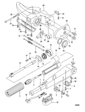
1 8M0051374 TILLER HANDLE

Под заказ

1

Под заказ

уточнить

Купить
2 8M0051375 PLUG, Cap

Под заказ

1

Под заказ

уточнить

Купить
3 8M0051376 GRIP, Rubber

Под заказ

1

Под заказ

уточнить

Купить
4 8M0051377 GRIP

Под заказ

1

Под заказ

уточнить

Купить
5 8M0051405 SWITCH ASSEMBLY, Stop

Под заказ

1

Под заказ

уточнить

Купить
6 8M0051380 Кронштейн (BRACKET, Aluminum)

Под заказ

1

Под заказ

уточнить

Купить
7 8M0051381 Болт (SCREW)

Под заказ

1

Под заказ

уточнить

Купить
8 8M0051382 Фиксатор пластиковый (CLAMP, Friction - Throttle)

Под заказ

1

Под заказ

уточнить

Купить
9 8M0051383 NUT

Под заказ

1

Под заказ

уточнить

Купить
10 8M0051384 SPRING, Stainless Steel

Под заказ

1

Под заказ

уточнить

Купить
11 4000330 Болт (SCREW @5)

Под заказ

1

Под заказ

уточнить

Купить
12 896853008 DECAL, Tiller Handle Shift-Rabbit

Под заказ

1

Под заказ

уточнить

Купить
13 8M0051379 SHAFT, Throttle

Под заказ

1

Под заказ

уточнить

Купить
14 803998004 *** Шток румпеля (THROTTLE SHAFT)

Под заказ

1

Под заказ

уточнить

Купить
15 8M0051386 Шкив (PULLEY)

Под заказ

1

Под заказ

уточнить

Купить
16 8M0051387 Корпус (HOUSING)

Под заказ

1

Под заказ

уточнить

Купить
17 8M0051388 COVER

Под заказ

1

Под заказ

уточнить

Купить
18 16257003 SCREW, Tapping - Stainless Steel

Под заказ

1

Под заказ

уточнить

Купить
19 16080 WASHER, RECTIFIER SCREW

Под заказ

1

Под заказ

уточнить

Купить
20 8M0051390 Трос газа\реверса (CABLE-THROTTLE)

Под заказ

1

Под заказ

уточнить

Купить
21 8M0051392 HANDLE, Carrying

Под заказ

1

Под заказ

уточнить

Купить
22 8M0058362 BOLT

Под заказ

2

Под заказ

уточнить

Купить
23 895142A01 COVER KIT

Под заказ

1

Под заказ

уточнить

Купить
24 8M0051394 SCREW, Stainless Steel (M4 x 16)

Под заказ

2

Под заказ

уточнить

Купить
25 8M0051395 SCREW

Под заказ

1

Под заказ

уточнить

Купить
26 8M0051396 LEVER, Tiller Lock - Stainless Steel

Под заказ

1

Под заказ

уточнить

Купить
27 8M0051397 COLLAR, Stainless Steel

Под заказ

1

Под заказ

уточнить

Купить
28 8M0051398 Пружина (SPRING, Stainless Steel)

Под заказ

1

Под заказ

уточнить

Купить
29 8M0051399 Штифт фиксирующий (STOPPER)

Под заказ

1

Под заказ

уточнить

Купить
30 8M0051400 COVER

Под заказ

1

Под заказ

уточнить

Купить
31 823042 Болт (BOLT)

Под заказ

1

Под заказ

уточнить

Купить
32 8M0051402 BOLT, Stainless Steel

Под заказ

1

Под заказ

уточнить

Купить
33 8M0051403 Втулка (BUSHING, Plastic)

Под заказ

2

Под заказ

уточнить

Купить
34 8M0051404 Шайба (WASHER, Rubber)

Под заказ

2

Под заказ

уточнить

Купить
35 892904006 DECAL, Tiller Lock Release

Под заказ

1

Под заказ

уточнить

Купить
36 8M4501991 SWITCH

Под заказ

1

Под заказ

уточнить

Купить
37 8M4501941 Корпус переключателя (HOUSING-SWITCH)

Под заказ

1

Под заказ

уточнить

Купить
38 17169 Хомут (CLAMP)

Под заказ

1

Под заказ

уточнить

Купить
39 8M4501970 HOLDER / PLATE

Под заказ

1

Под заказ

уточнить

Купить
40 8M4501983 SCREW

Под заказ

1

Под заказ

уточнить

Купить
41 835427A04 GASKET SET, Powerhead

Под заказ

1

Под заказ

уточнить

Купить

Нулевая цена не означает отсутствие товара. Оформите заказ, и менеджер сообщит вам цену и наличие товара, предварительно запросив их у поставщика

Главная Магазины
Корзина0
Профиль