Мы используем cookie для наилучшего представления нашего сайта. Подробнее об этом в Политике конфиденциальности.
Ок

Курган

Ваш город:
Курган (Курганская область)?
Нет
Да
Каталог
Каталог Написать в WhatsApp
Мотоэкипировка

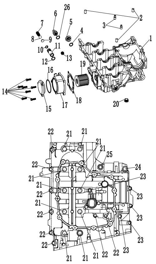
Нижний картер МОТОЦИКЛА BENDA LFC 700

Оригинальные запчасти

Артикул НАИМЕНОВАНИЕ Кол-во деталей в узле Примечание Наличие Цена Аналоги Фото
1 46700.111201.2MP Нижний ящик

Под заказ

1

Под заказ

уточнить

Купить
2 00001.100116 Дюбель-штифт, 10×16

Под заказ

3

Под заказ

уточнить

Купить
3 46700.111003 Топливные форсунки

Под заказ

2

Под заказ

уточнить

Купить
4 03452.01824N Уплотнительное кольцо 18,2*2,4

Под заказ

1

Под заказ

уточнить

Купить
5 46700.111006 Держатель датчика давления масла стальной

Под заказ

1

Под заказ

уточнить

Купить
6 46700.111010 Датчик давления масла

Под заказ

1

Под заказ

уточнить

Купить
7 46700.111222 Пружина предохранительного клапана

Под заказ

1

Под заказ

уточнить

Купить
8 00308.000135 Стальной шарик 13,5

Под заказ

1

Под заказ

уточнить

Купить
9 46700.111223 Заглушка клапана сброса давления

Под заказ

1

Под заказ

уточнить

Купить
10 00893.1400A0 Отверстие со стопорным кольцом 14

Под заказ

1

Под заказ

уточнить

Купить
11 46700.111221 Корпус предохранительного клапана

Под заказ

1

Под заказ

уточнить

Купить
12 46700.111005 Уплотнительное кольцо 15*2

Под заказ

1

Под заказ

уточнить

Купить
13 04446.000004 Резьбовая пробка rc 1/4

Под заказ

1

Под заказ

уточнить

Купить
14 05787.060200.0DW Болт,фланец,6×20

Под заказ

7

Под заказ

уточнить

Купить
15 46700.111233.2MP Крышка масляного фильтра

Под заказ

7

Под заказ

уточнить

Купить
16 46700.111234 Кольцо резиновое маслян. фильтра BENDA LFC700 / Dark Flag 500

В наличии

1

В наличии

150

250

Купить
17 46700.111231.2MP Корпус охладителя

Под заказ

1

Под заказ

уточнить

Купить
18 46700.111232 Прокладка,чиллер

Под заказ

1

Под заказ

уточнить

Купить
19 46700.111020 Фильтр масляный BENDA LFC700 / Dark Flag 500

В наличии

1

В наличии

990

1 340

Купить
20 26700.122012 Пробка,16×1,5

Под заказ

1

Под заказ

уточнить

Купить
21 05789.080952.0DW Болт м8х95-10,9 марка

Под заказ

10

Под заказ

уточнить

Купить
22 05787.060350.0DW Болт м6×35

Под заказ

8

Под заказ

уточнить

Купить
23 05787.060500.0DW Болт м6х50

Под заказ

5

Под заказ

уточнить

Купить
24 05789.100752.0DW Болт м10х75

Под заказ

1

Под заказ

уточнить

Купить
25 05787.080450.0DW Болт м8х45

Под заказ

1

Под заказ

уточнить

Купить
26 0L003.101515 Шайба алюминиевая 10*15*1,5

Под заказ

1

Под заказ

уточнить

Купить

Нулевая цена не означает отсутствие товара. Оформите заказ, и менеджер сообщит вам цену и наличие товара, предварительно запросив их у поставщика

Главная Магазины
Корзина0
Профиль